Google patenteert smartphones met scherm, luidsprekers en eyetracking

Google patenteert smartphones met scherm, luidsprekers en eyetracking
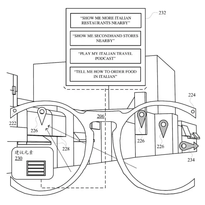
Een schets van de toekomstige slimme bril van Google. Bron: Android Headlines

Google bereidt zich waarschijnlijk voor op een nieuwe poging om het smartglasseproject te implementeren, met name dankzij een nieuw patent voor een bril met ingebouwd scherm, luidsprekers en oogvolgtechnologie.

Dit is wat we weten

Het patent is in China aangevraagd via de nationale administratie voor intellectueel eigendom CNIPA.

Deze smartglasses zullen verbonden moeten zijn met een smartphone om gegevens te verwerken, wat de batterij zal helpen sparen.

Naast een scherm en luidsprekers zijn de brillen uitgerust met een microfoon, camera's en ondersteunen ze spraakbesturing, tikken en gebaren.

1
2
3

Ze zullen ook je locatiegegevens gebruiken om tips en navigatiefuncties te bieden.

Hoewel dit slechts een patent is, heeft de technologie al het nodige niveau bereikt voor de succesvolle implementatie van slimme brillen, en het is goed mogelijk dat dergelijke apparaten in de nabije toekomst op de markt zullen verschijnen.

Bron: Android Headlines

var _paq = window._paq = window._paq || []; _paq.push(['trackPageView']); _paq.push(['enableLinkTracking']); (function() { var u='//mm.magnet.kiev.ua/'; _paq.push(['setTrackerUrl', u+'matomo.php']); _paq.push(['setSiteId', '22']); var d=document, g=d.createElement('script'), s=d.getElementsByTagName('script')[0]; g.async=true; g.src=u+'matomo.js'; s.parentNode.insertBefore(g,s); })();